Teléfonos
(55) 5699 5079(55) 5774 0814(55) 5775 4363(55) 5775 8566
Email
Política de cookies
Por favor, indique si autoriza a este sitio web a utilizar sólo las cookies necesarias o también las funcionales, tal y como se describe en el siguiente enlace:
Información sobre las cookies
Ihre aktuelle Auswahl: {status}
Auswahl ändern:
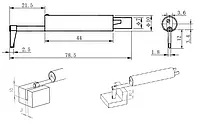
Sensor PCE-RP-131 para ranuras para el PCE-RT 2200.Adecuado para ranuras con una anchura de más de 3 mm. Profundidad máx.: 10 mm.