1.361,90 €
						
					
					
				 
		 
		 
		Mesureur de force portable / Poids léger / Fonction PEAK / Manilles et mallette inclus
| Cellule de charge | |
| Plage | 50.000 kg / 500 kN | 
| Résolution | 20 kg / 200 N | 
| Charge min. * | 400 kg | 
| Précision | ±0,1 % F.S. | 
| Matériel | Acier | 
| Poids | 39 kg | 
| Poids avec manille | 128 kg | 
| Autres spécifications | |
| Tare | Max. 20 % de la plage | 
| Écran | LCD, hauteur chiffres : 22 mm | 
| Unités | kg / t / lb / N / kN | 
| Transmission par radio | Jusqu’à max. 80 m à l’air libre | 
| Fréquence d’échantillonnage | 2,5 Hz | 
| Température opérationnelle | -10 … +40 ºC | 
| Humidité opérationnelle | ≤85 % H.r. en dessous de 20℃ | 
| Alimentation | 3 x piles de 1,5 V type AA | 
| Autonomie | 50 heures environ | 
* Le dynamomètre indique le poids qui est inférieur à la charge minimum, mais la précision indiquée n’est valable qu’à partir de la charge minimale.
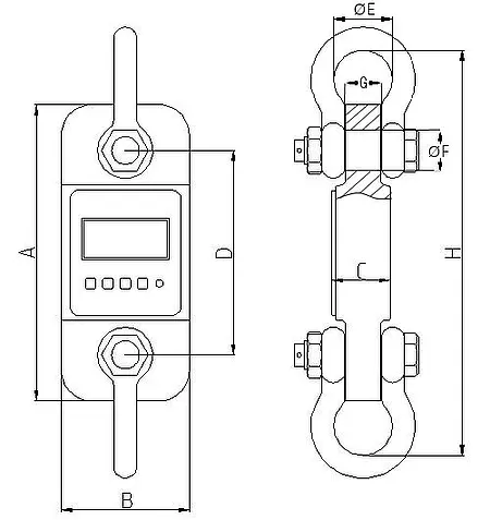
Dessin technique de la cellule de charge
 
| Dimensions | |
| A | 465 | 
| B | 150 | 
| C | 104 | 
| D | 305 | 
| øE | 184 | 
| øF | 74 | 
| G | 101 | 
| H | 930 |