Zum Hauptinhalt springen

Appareil de mesure de force Mesureur de force avec télécommande

Appareil de mesure de force Mesureur de force PCE-DDM 50

Référence: PCE-DDM 50
GTIN (EAN): 4250348713018
4.749,90 €
5.699,88 €
Prix HT / Frais d'envoi non compris (225,00 € + TVA)
:
4250348713018
PCE-DDM 50
Délai de livraison:1-2 jours ouvrés

Description

Appareil de mesure de force Mesureur de force portable / Poids léger / Fonction PEAK / Télécommande avec écran pour la lecture du poids à distance / Manilles et mallette inclus

Le mesureur de force est idéal pour des mesures de traction, comme par exemple celles qui sont effectuées par les experts. Dans la fabrication du mesureur de force, on a utilisé des matériels de première qualité. Cela permet, malgré la capacité de mesure élevée, une construction compacte avec un poids léger. Selon la plage de mesure du mesureur de force, on inclut dans le contenu de l'envoi une mallette de transport. Le mesureur de force est livré avec une télécommande avec un écran intégré, ce qui est très pratique car l’utilisateur peut visualiser avec commodité le poids à distance.

Le mesureur de force est fabriqué en aluminium (modèles de 3000 et 5000 kg) et en acier (modèles à partir de 10000 kg) avec des anneaux d'acier dans les emplacements du boulon. Grâce à la résistance de flexion et à la déformation de l'acier utilisé dans la fabrication du mesureur de force, on obtient une sécurité du 200 %. Quelques fonctions intéressantes du mesureur de force sont la fonction Peak Hold, fonction d'addition, pesage brut / net et des différentes unités de mesure comme par exemple kg / t / lbs / N ou kN. Le mesureur de force est approprié pour des mesures de traction.

Caractéristiques

- Plage de mesure jusqu'à 50.000 kg
- Poids propre léger
- Construction compacte
- Longue durée de la batterie
- Fonction PEAK-Hold
- Fonction d'addition
- Unités de mesure: kg / t / lbs / N / kN
- Plage de gravitation réglable
- Télécommande avec écran

Spécifications

Cellule de charge
Plage 50.000 kg / 500 kN
Résolution 20 kg / 200 N
Charge min. * 400 kg
Précision ±0,1 % F.S.
Matériel Acier
Poids 39 kg
Poids avec manille 128 kg
 
Autres spécifications
Tare Max. 20 % de la plage
Écran LCD, hauteur chiffres : 22 mm
Unités kg / t / lb / N / kN
Transmission par radio Jusqu’à max. 80 m à l’air libre
Fréquence d’échantillonnage 2,5 Hz
Température opérationnelle -10 … +40 ºC
Humidité opérationnelle ≤85 % H.r. en dessous de 20℃
Alimentation 3 x piles de 1,5 V type AA
Autonomie 50 heures environ

* Le dynamomètre indique le poids qui est inférieur à la charge minimum, mais la précision indiquée n’est valable qu’à partir de la charge minimale.

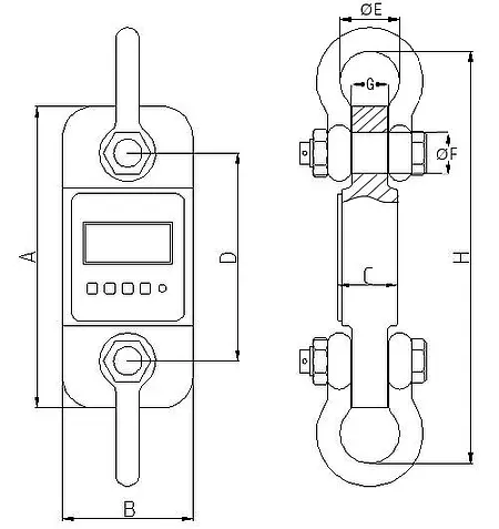
Dessin technique de la cellule de charge

Dessins techniques de l'éclisse de mesure de traction / force PCE-DDM

Dimensions
A 465
B 150
C 104
D 305
øE 184
øF 74
G 101
H 930

Contenu de livraison

1 x Mesureur de force
1 x Télécommande
2 x Manilles
1 x Mallette
3 x Piles
1 x Manuel d'utilisation

Documents / Téléchargements