Zum Hauptinhalt springen

Dynamometre-peson ISO

Dynamometre-peson PCE-DDM 20WI-ICA avec certificat d'étalonnage ISO

Référence: PCE-DDM 20WI-ICA
GTIN (EAN):
2.784,90 €
3.341,88 €
Calibration ISO
Prix HT / Frais d'envoi non compris (100,00 € + TVA)
PCE-DDM 20WI-ICA
Délai de livraison:env. 10-15 jours ouvrés

Description

Dynamomètre-peson portable / Poids léger / Fonction PEAK / Manilles et mallette inclus / Certificat d'étalonnage ISO

Le dynamomètre-peson est idéal pour des mesures de traction, comme par exemple celles qui sont effectuées par les experts. Dans la fabrication du dynamomètre-peson, on a utilisé des matériels de première qualité. Cela permet, malgré la capacité de mesure élevée, une construction compacte avec un poids léger. Selon la plage de mesure du dynamomètre-peson, on inclut dans le contenu de l'envoi une mallette de transport.

Le dynamomètre-peson est fabriqué en aluminium (modèles de 3000 et 5000 kg) et en acier (modèles à partir de 10000 kg) avec des anneaux d'acier dans les emplacements du boulon. Grâce à la résistance de flexion et à la déformation de l'acier utilisé dans la fabrication du dynamomètre-peson, on obtient une sécurité du 200 %. Quelques fonctions intéressantes du dynamomètre-peson sont la fonction Peak Hold, fonction d'addition, pesage brut / net et des différentes unités de mesure comme par exemple kg / t / lbs / N ou kN. Le dynamomètre-peson est approprié pour des mesures de traction.

Caractéristiques

- Plage de mesure jusqu'à 20.000 kg
- Poids propre léger
- Construction compacte
- Longue durée de la batterie
- Fonction PEAK-Hold
- Fonction d'addition
- Unités de mesure: kg / t / lbs / N / kN
- Plage de gravitation réglable
- Certificat d'étalonnage ISO

Spécifications

Cellule de charge
Plage 20.000 kg / 200 kN
Résolution 10 kg / 100 N
Charge min. * 200 kg
Précision ±0,1 % F.S.
Matériel Acier
Poids 18 kg
Poids avec manille 49 kg
 
Autres spécifications
Tare Max. 20 % de la plage
Écran LCD, hauteur chiffres : 22 mm
Unités kg / t / lb / N / kN
Transmission par radio Jusqu’à max. 80 m à l’air libre
Fréquence d’échantillonnage 2,5 Hz
Température opérationnelle -10 … +40 ºC
Humidité opérationnelle ≤85 % H.r. en dessous de 20℃
Alimentation 3 x piles de 1,5 V type AA
Autonomie 50 heures environ

* Le dynamomètre indique le poids qui est inférieur à la charge minimum, mais la précision indiquée n’est valable qu’à partir de la charge minimale.

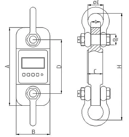
Dessin technique de la cellule de charge

Dessins techniques de l'éclisse de mesure de traction / force PCE-DDM

Dimensions
A 375
B 128
C 74
D 260
øE 127
øF 54
G 71
H 660

Contenu de livraison

1 x Dynamometre-peson
2 x Manilles
1 x Mallette
3 x Piles
1 x Manuel d'utilisation
1 x Certificat d'étalonnage ISO

Documents / Téléchargements