Zum Hauptinhalt springen

Balance à grue avec télécommande

Balance à grue PCE-DDM 3

Référence: PCE-DDM 3
GTIN (EAN): 4250348712974
1.399,90 €
1.679,88 €
Prix HT / Frais d'envoi non compris (25,00 € + TVA)
:
4250348712974
PCE-DDM 3
Délai de livraison:1-2 jours ouvrés

Description

Balance à grue portable / Poids léger / Fonction PEAK / Télécommande avec écran pour la lecture du poids à distance / Manilles et mallette inclus

La balance à grue de est idéale pour des mesures de traction, comme par exemple celles qui sont effectuées par les experts. Dans la fabrication de la balance a grue, on a utilisé des matériels de première qualité. Cela permet, malgré l'élevée capacité de mesure, une construction compacte avec un poids léger. Selon la plage de mesure de la balance à grue, on inclut dans le contenu de l'envoi une mallette de transport. La balance à grue est livré avec une télécommande avec un écran intégré, ce qui est très pratique car l’utilisateur peut visualiser avec commodité le poids à distance.

La balance à grue est fabriqué en aluminium (modèles de 3000 et 5000 kg) et en acier (modèles à partir de 10.000 kg) avec des anneaux d'acier dans les emplacements du boulon. Grâce à la résistance de flexion et à la déformation de l'acier utilisé dans la fabrication de la balance à grue, on obtient une sécurité du 200 %. Quelques fonctions intéressantes de la balance à grue sont la fonction Peak Hold, fonction d'addition, pesage brut / net et des différentes unités de mesure comme par exemple Kg / t / lbs / N ou kN. La balance à grue est appropriée pour des mesures de traction.

Caractéristiques

- Plage de mesure jusqu'à 3000 kg
- Poids propre léger
- Construction compacte
- Longue durée de la batterie
- Fonction PEAK-Hold
- Fonction d'addition
- Unités : kg / t / lbs / N / kN
- Plage de gravitation réglable
- Télécommande avec écran

Spécifications

Cellule de charge
Plage 3000 kg / 30 kN
Résolution 1 kg / 10 N
Charge min. * 20 kg
Précision ±0,1 % F.S.
Matériel Aluminium
Poids 2 kg
Poids avec manille 5 kg
 
Autres spécifications
Tare Max. 20 % de la plage
Écran LCD, hauteur chiffres : 22 mm
Unités kg / t / lb / N / kN
Transmission par radio Jusqu’à max. 80 m à l’air libre
Fréquence d’échantillonnage 2,5 Hz
Température opérationnelle -10 … +40 ºC
Humidité opérationnelle ≤85 % H.r. en dessous de 20℃
Alimentation 3 x piles de 1,5 V type AA
Autonomie 50 heures environ

* Le dynamomètre indique le poids qui est inférieur à la charge minimum, mais la précision indiquée n’est valable qu’à partir de la charge minimale.

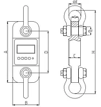
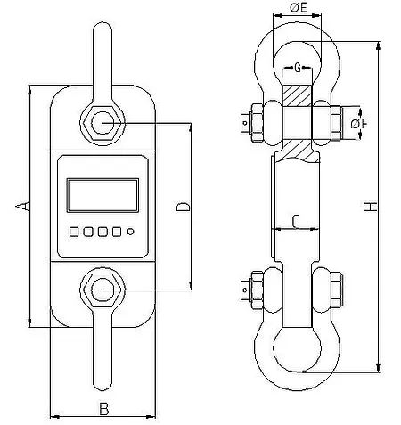
Dessin technique de la cellule de charge

Dessins techniques de l'éclisse de mesure de traction / force PCE-DDM

Dimensions
A 260
B 123
C 37
D 195
øE 51
øF 24
G 30
H 365

Contenu de livraison

1 x Balance à grue
1 x Télécommande
2 x Manilles
1 x Mallette
3 x Piles
1 x Manuel d’utilisation

Documents / Téléchargements