Zum Hauptinhalt springen

Mesureur de force

Mesureur de force PCE-DDM 3WI

Référence: PCE-DDM 3WI
GTIN (EAN):
DH 10,532.000
DH 12,638.400
Prix HT / Frais d'envoi non compris (DH 0.000 + TVA)
PCE-DDM 3WI
Délai de livraison:1-2 jours ouvrés

Description

Mesureur de force portable / Poids léger / Fonction PEAK / Manilles et mallette inclus

Le mesureur de force est idéal pour des mesures de traction, comme par exemple celles qui sont effectuées par les experts. Dans la fabrication du mesureur de force, on a utilisé des matériels de première qualité. Cela permet, malgré l'élevée capacité de mesure, une construction compacte avec un poids léger. Selon la plage de mesure du mesureur de force, on inclut dans le contenu de l'envoi une mallette de transport.

Le mesureur de force est fabriqué en aluminium (modèles de 3000 et 5000 kg) et en acier (modèles à partir de 10.000 kg) avec des anneaux d'acier dans les emplacements du boulon. Grâce à la résistance de flexion et à la déformation de l'acier utilisé dans la fabrication du mesureur de force, on obtient une sécurité du 200 %. Quelques fonctions intéressantes du mesureur de force sont la fonction Peak Hold, fonction d'addition, pesage brut / net et des différentes unités de mesure comme par exemple kg / t / lbs / N ou kN. Le mesureur de force est approprié pour des mesures de traction.

Caractéristiques

- Plage de mesure jusqu'à 3000 kg
- Poids propre léger
- Construction compacte
- Longue durée de la batterie
- Fonction PEAK-Hold
- Fonction d'addition
- Unités : kg / t / lbs / N / kN
- Plage de gravitation réglable

Spécifications

Cellule de charge
Plage 3000 kg / 30 kN
Résolution 1 kg / 10 N
Charge min. * 20 kg
Précision ±0,1 % F.S.
Matériel Aluminium
Poids 2 kg
Poids avec manille 5 kg
 
Autres spécifications
Tare Max. 20 % de la plage
Écran LCD, hauteur chiffres : 22 mm
Unités kg / t / lb / N / kN
Transmission par radio Jusqu’à max. 80 m à l’air libre
Fréquence d’échantillonnage 2,5 Hz
Température opérationnelle -10 … +40 ºC
Humidité opérationnelle ≤85 % H.r. en dessous de 20℃
Alimentation 3 x piles de 1,5 V type AA
Autonomie 50 heures environ

* Le dynamomètre indique le poids qui est inférieur à la charge minimum, mais la précision indiquée n’est valable qu’à partir de la charge minimale.

Dessin technique de la cellule de charge

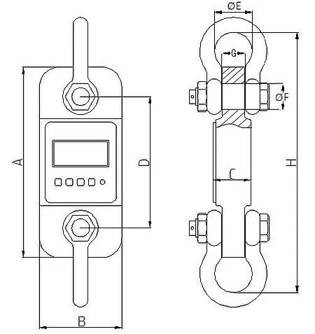
Dessins techniques de l'éclisse de mesure de traction / force PCE-DDM

Dimensions
A 260
B 123
C 37
D 195
øE 51
øF 24
G 30
H 365

Contenu de livraison

1 x Mesureur de force
2 x Manilles
1 x Mallette
3 x Piles
1 x Manuel d'utilisation

Documents / Téléchargements