Zum Hauptinhalt springen

Crochet peseur ISO

Crochet peseur PCE-DDM 5WI-ICA avec certificat d'étalonnage ISO

Référence: PCE-DDM 5WI-ICA
GTIN (EAN):
DH 15,079.000
DH 18,094.800
Calibration ISO
Prix HT / Frais d'envoi non compris (DH 0.000 + TVA)
PCE-DDM 5WI-ICA
Délai de livraison:env. 10-15 jours ouvrés

Description

Crochet peseur portable / Poids léger / Fonction PEAK / Manilles et mallette inclus / Certificat d'étalonnage ISO

Le crochet peseur est idéal pour des mesures de traction, comme par exemple celles qui sont effectuées par les experts. Dans la fabrication du crochet peseur, on a utilisé des matériels de première qualité. Cela permet, malgré la capacité de mesure élevée, une construction compacte avec un poids léger. Selon la plage de mesure du crochet peseur, on inclut dans le contenu de l'envoi une mallette de transport.

Le crochet peseur est fabriqué en aluminium (modèles de 3000 et 5000 kg) et en acier (modèles à partir de 10000 kg) avec des anneaux d'acier dans les emplacements du boulon. Grâce à la résistance de flexion et à la déformation de l'acier utilisé dans la fabrication du crochet peseur, on obtient une sécurité du 200 %. Quelques fonctions intéressantes du crochet peseur sont la fonction Peak Hold, fonction d'addition, pesage brut / net et des différentes unités de mesure comme par exemple kg / t / lbs / N ou kN. Le crochet peseur est approprié pour des mesures de traction.

Caractéristiques

- Plage de mesure jusqu'à 5.000 kg
- Poids propre léger
- Construction compacte
- Longue durée de la batterie
- Fonction PEAK-Hold
- Fonction d'addition
- Unités de mesure: kg / t / lbs / N / kN
- Plage de gravitation réglable
- Certificat d'étalonnage ISO

Spécifications

Cellule de charge
Plage 5000 kg / 50 kN
Résolution 2 kg / 20 N
Charge min. * 40 kg
Précision ±0,1 % F.S.
Matériel Aluminium
Poids 3 kg
Poids avec manille 6 kg
 
Autres spécifications
Tare Max. 20 % de la plage
Écran LCD, hauteur chiffres : 22 mm
Unités kg / t / lb / N / kN
Transmission par radio Jusqu’à max. 80 m à l’air libre
Fréquence d’échantillonnage 2,5 Hz
Température opérationnelle -10 … +40 ºC
Humidité opérationnelle ≤85 % H.r. en dessous de 20℃
Alimentation 3 x piles de 1,5 V type AA
Autonomie 50 heures environ

* Le dynamomètre indique le poids qui est inférieur à la charge minimum, mais la précision indiquée n’est valable qu’à partir de la charge minimale.

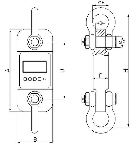
Dessin technique de la cellule de charge

Dessins techniques de l'éclisse de mesure de traction / force PCE-DDM

Dimensions
A 285
B 123
C 57
D 210
øE 58
øF 27
G 34
H 405

Contenu de livraison

1 x Crocher peseur
2 x Manilles
1 x Mallette
3 x Piles
1 x Manuel d'utilisation
1 x Certificat d'étalonnage ISO inclus

Documents / Téléchargements