Balance à grue ISO

Balance à grue PCE-DDM 10-ICA avec certificat d'étalonnage ISO

Référence: PCE-DDM 10-ICA
GTIN (EAN): 4250348712998
DH 26,233.000
DH 31,479.600
Calibration ISO
Prix HT / Frais d'envoi non compris (DH 0.000 + TVA)
:
4250348712998
PCE-DDM 10-ICA
Délai de livraison:env. 10-15 jours ouvrés

Description

Balance à grue portable / Poids léger / Fonction PEAK / Télécommande avec écran pour la lecture du poids à distance / Manilles et mallette inclus / Certificat d'étalonnage ISO

La balance à grue de est idéale pour des mesures de traction, comme par exemple celles qui sont effectuées par les experts. Dans la fabrication de la balance a grue, on a utilisé des matériels de première qualité. Cela permet, malgré la capacité de mesure élevée, une construction compacte avec un poids léger. Selon la plage de mesure de la balance à grue, on inclut dans le contenu de l'envoi une mallette de transport. La balance à grue est livré avec une télécommande avec un écran intégré, ce qui est très pratique car l’utilisateur peut visualiser avec commodité le poids à distance.

La balance à grue est fabriqué en aluminium (modèles de 3000 et 5000 kg) et en acier (modèles à partir de 10000 kg) avec des anneaux d'acier dans les emplacements du boulon. Grâce à la résistance de flexion et à la déformation de l'acier utilisé dans la fabrication de la balance à grue, on obtient une sécurité du 200 %. Quelques fonctions intéressantes de la balance à grue sont la fonction Peak Hold, fonction d'addition, pesage brut / net et des différentes unités de mesure comme par exemple Kg / t / lbs / N ou kN. La balance à grue est appropriée pour des mesures de traction.

Caractéristiques

- Plage de mesure jusqu'à 10.000 kg
- Poids propre léger
- Construction compacte
- Longue durée de la batterie
- Fonction PEAK-Hold
- Fonction d'addition
- Unités de mesure: kg / t / lbs / N / kN
- Plage de gravitation réglable
- Télécommande avec écran
- Certificat d'étalonnage ISO

Spécifications

Cellule de charge
Plage 10.000 kg / 100 kN
Résolution 5 kg / 50 N
Charge min. * 100 kg
Précision ±0,1 % F.S.
Matériel Acier
Poids 11 kg
Poids avec manille 25 kg
 
Autres spécifications
Tare Max. 20 % de la plage
Écran LCD, hauteur chiffres : 22 mm
Unités kg / t / lb / N / kN
Transmission par radio Jusqu’à max. 80 m à l’air libre
Fréquence d’échantillonnage 2,5 Hz
Température opérationnelle -10 … +40 ºC
Humidité opérationnelle ≤85 % H.r. en dessous de 20℃
Alimentation 3 x piles de 1,5 V type AA
Autonomie 50 heures environ

* Le dynamomètre indique le poids qui est inférieur à la charge minimum, mais la précision indiquée n’est valable qu’à partir de la charge minimale.

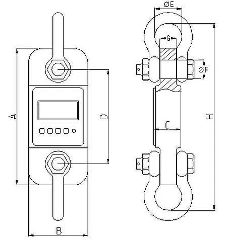
Dessin technique de la cellule de charge

Dessins techniques de l'éclisse de mesure de traction / force PCE-DDM

Dimensions
A 320
B 120
C 57
D 230
øE 92
øF 41
G 54
H 535

Contenu de livraison

1 x Balance à grue
1 x Télécommande
2 x Manilles
1 x Mallette
3 x Piles
1 x Manuel d'utilisation
1 x Certificat d'étalonnage ISO

Documents / Téléchargements